logobeta
텍스트 조절
arrow
arrow
특허법원 2006.1.26.선고 2005허1615 판결
등록무효(실)
사건

2005허1615 등록무효 ( 실 )

원고

두성철강산업 주식회사 ( 변경 전 상호 주식회사 동양산기 )

대전 대덕구 문평동

대표이사 유재욱

소송대리인 법무법인 대전제일법률사무소

담당변호사 심재필

피고

박길수

대전 중구 태평2동

소송대리인 변리사 이재성

변론종결

2005. 12. 1 .

판결선고

2006. 1. 26 .

주문

1. 특허심판원이 2005. 1. 26. 2004당816호 사건에 관하여 한 심결을 취소한다 .

2. 소송비용은 피고의 부담으로 한다 .

청구취지

주문과 같다 .

이유

1. 기초사실

가. 이 사건 등록고안

① 고안의 명칭 : 금속제 용마루 기와

② 출원일 / 등록일 / 등록유지결정일 / 등록번호 : 2000. 4. 3. / 2000. 7. 5. / 2001. 12. 27. / 제196202호

③ 실용신안권자 : 원고 ( 소외 이상배로부터 원고에게 이전등록 되었다 )

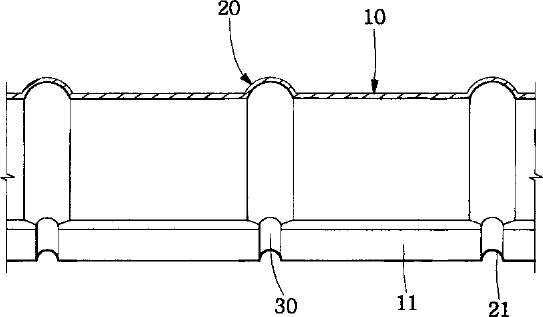
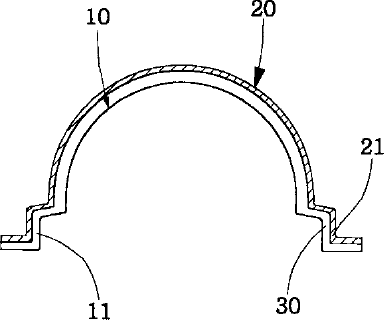
④ 실용신안등록 청구범위 ( 도면은 별지 1과 같다 ) 기와몸체 ( 10 ) 에 기와이음부 모양의 돌조 ( 20 ) 를 일정간격으로 다수 구비하고, 하단 양측에 좌판 ( 11 ) 이 구비된 용마루 기와를 형성함에 있어서, 상기 돌조 ( 20 ) 양단으로부터 좌판 ( 11 ) 끝까지 연장돌조 ( 21 ) 를 형성하고, 그 내측에는 연장홈선 ( 30 ) 을 형성한 것을 특징으로 하는 금속제 용마루 기와 .

나. 비교대상고안들 ( 각 도면은 별지 2 해당번호와 같다 ) ( 1 ) 비교대상고안 1 ( 1993. 2. 국내에서 반포된 잡지인 ' ARCHITECTURAL Design & Detail ' 에 게재된 ' 가나메루프의 사시도, 갑 제5호증의 1, 2 ) ‘ 금속제 양와 ( 洋瓦 ) ' 라는 표제 아래 ‘ 특허공법으로써 방수성능이 뛰어나다. 재질은 아크릴 강판, 스텐레스, 동판 등 가나메 제 ( 製 ) 이다 ' 라는 기재와 함께 별지 2의 가 .

와 같은 용마루 및 기와의 사시도가 게재되어 있다 . ( 2 ) 비교대상고안 2 ( 1992. 10. 29. 공고된 일본국 실용신안공보 평4 - 46011호, 갑 제6호증 )

‘ 용마루를 따라 일정한 간격을 두고 돌조 모양의 장식부재가 부착된 기와의 구조에 관한 고안으로서, 고안의 상세한 설명에 종래에는 제5도와 같이 금속제 기와의 일부를 직접 굴곡함으로써 돌출된 모양의 장식부를 형성하였다 ' 는 기재가 있고, 별지 2 나. 항과 같은 용마루 기와의 형상이 도시되어 있다 .

다. 절차의 경위 ( 1 ) 피고는, 이 사건 등록고안이 비교대상고안 1, 2 등 ( 피고는 그 밖에도 8개의 비교대상고안을 추가로 들었으나, 기재를 생략한다 ) 에 비하여 진보성이 없다는 이유로 이 사건 등록고안에 대한 등록무효를 구하는 심판청구를 하였고, 특허심판원은 이를 2004당816호로 심리하여, 2005. 1. 26. 아래 ( 2 ) 와 같은 이유로 피고의 청구를 인용하는 이 사건 심결을 하였다 .

( 2 ) 이 사건 심결이유의 요지 ( 가 ) 이 사건 등록고안의 목적은 길이가 길고 필요에 따라 굽히기 쉬운 용마루 기와를 제공하는 것이고, 비교대상고안들 또한 구성상의 특징에 비추어 이 사건 등록고안과 동일한 목적을 가지고 있다 .

( 나 ) 비교대상고안들의 각 도면에 이 사건 등록고안의 모든 구성요소가 명확히 나타나 있지는 아니하나, 해당 기술분야에서 통상의 지식을 가진 자 ( 이하 ' 당업자 ' 라고 한다 ) 라면 비교대상고안들의 각 도면에 나타난 기와 이음부를 이 사건 등록고안의 돌조 ( 20 ) 및 그와 일체로 구성된 연장돌조 ( 21 ) 로, 원호의 용마루 몸체 양측하단이 계단모 양으로 절곡된 부분을 이 사건 등록고안의 좌판 ( 11 ) 과 동일한 것으로 인식하는데 아무런 어려움이 없다. 비교대상고안들에는 이 사건 등록고안의 연장홈선 ( 30 ) 이 나타나 있지 아니하나, 금속판을 구부려 기와 이음부의 돌기를 만드는 비교대상고안들의 속성상 , 비교대상고안들 역시 이 사건 등록고안의 연장홈선 ( 30 ) 과 대응하는 구성을 갖추고 있음은 당업자에게 자명하다 .

( 다 ) 위와 같이 이 사건 등록고안과 비교대상고안들의 구성이 실질적으로 동일한 이상 그 효과 또한 동일하다 .

( 라 ) 따라서, 이 사건 등록고안은 비교대상고안들에 의하여 모든 구성요소가 출원전에 공지된 것이어서 신규성이 없거나, 적어도 당업자가 비교대상고안들에 의하여 극히 용이하게 고안할 수 있는 것이어서 진보성이 없다 .

[ 증 거 ] 갑 제1호증의 1, 2, 갑 제3호증의 2, 갑 제5호증의 1, 2, 갑 제6호증, 갑 제13호증

2. 당사자 주장의 요지

가. 원고가 주장하는 심결취소사유의 요지 ( 1 ) 이 사건 등록고안은 용마루 기와의 길이를 일체로 길게 형성할 수 있는 특징이 있는데 비하여, 비교대상고안 1은 그 길이가 1m 남짓에 지나지 않고 이 사건 등록고안의 필수구성요소인 좌판 ( 11 ) 을 결여하고 있어 이 사건 등록고안과 다르다 . ( 2 ) 이 사건 등록고안의 연장홈선 ( 30 ) 은 일정한 곡률반경을 갖는 호 ( 狐 ) 로 이루어져 , 용마루 기와를 필요에 따라 상, 하로 훨 수 있게 하는 고유의 효과를 가지는데 비하여 , 비교대상고안들의 돌조는 단지 용마루 기와의 이음새로 사용되기 위한 것이거나 심미적 필요에 의하여 마련된 것에 지나지 않으며, 비교대상고안들에는 이 사건 등록고안의 연장홈선 ( 30 ) 에 관한 아무런 기재나 암시가 없다 . ( 3 ) 따라서 이 사건 등록고안과 비교대상고안들은 기술구성이 서로 다를 뿐 아니라 , 당업자가 비교대상고안들로부터 극히 용이하게 이 사건 등록고안에 이를 수도 없다 .

나. 피고 주장의 요지

피고는 1. 다. ( 2 ) 에서 본 이 사건 심결이유의 요지와 같은 주장을 하는 외에, 비교대상고안 1의 용마루 기와의 규격이 1m 남짓으로 되어 있다고 해서 그 기술구성의 본질이 달라지는 것은 아니라는 주장, 이 사건 등록고안 가운데 좌판 ( 11 ) 의 구성은 출원 전에 공지된 것이고 연장홈선 ( 30 ) 의 구성은 단순히 연장돌조 ( 21 ) 의 내측 면에 새로운 이름을 붙인 것에 불과하여 아무런 기술적 특징을 가지지 아니한다는 주장을 아울러 하였다 .

3. 판단

가. 이 사건 등록고안의 기술적 특징

갑 제3호증의 2에 의하면 이 사건 등록고안의 명세서 중 발명의 상세한 설명 및 도면에, ' 이 사건 등록고안은, 이음부가 없이 길게 형성됨으로써 시공성을 높이고 누수를 방지하면서 한옥의 곡선에 맞추어 굽혀 사용할 수 있는 금속제 용마루 기와를 제공한다 ', ' 종래의 기술과는 달리 일정 간격으로 기와 이음부 모양의 돌조를 성형하되, 기와 이음부 돌조의 양단으로부터 좌판의 양단까지 돌조를 연속 성형하여 좌판 ( 11 ) 도 수축할 수 있게 하며, 구체적으로는, 기와 이음부 모양의 안쪽이 요입된 돌조 ( 20 ) 와 그로부터 좌판 ( 11 ) 의 끝까지 표면으로 돌출된 연장돌조 ( 21 ) 를 형성하며, 위 연장돌조 ( 21 ) 의 안쪽에 형성되는 연장홈선 ( 30 ) 의 작용으로 용마루 기와가 별지 1의 도 4와 같이 안쪽으로 굽혀지거나 도 5와 같이 바깥쪽으로 벌어질 수 있다 ' 는 취지의 기재와 도시가 있는 사실이 인정된다 .

위 인정사실에 의하면 이 사건 등록고안은 용마루 기와를 따라 길이 방향으로 일정한 간격의 이음부 모양 돌조 ( 20 ) 를 아치형으로 구성하되, 각 돌조의 좌, 우 양 끝이 좌판 ( 11 ) 의 선단까지 일체로 형성되고 ( 이하 구성요소 1 ' 이라고 한다 ), 연장돌조 ( 21 ) 의 안쪽에 형성된 연장홈선 ( 30 ) 으로 인하여 각 연장돌조 ( 21 ) 선단의 측면 형상이 - -과 같이 위로 볼록하여 ( 이하 ' 구성요소 2 ' 라고 한다 ) 상, 하에서 가해지는 힘에 따라 신축성을 갖도록 하는 것을 기술적 특징으로 한다 { 이 사건 등록고안의 실용신안등록 청구범위에 기재된 연장홈선 ( 30 ) ' 이라는 문언은, 위와 같이 위로 볼록하게 일정한 곡률반경을 갖는 연장돌조 ( 21 ) 가 좌판의 선단까지 일체로 연장되며, 위 연장돌조 ( 21 ) 는 안쪽이 오목한 형상의 홈으로 되어 있음을 표현한 것으로 봄이 상당하다 .

나. 비교대상고안들과 이 사건 등록고안의 대비 ( 1 ) 이 사건 등록고안의 신규성 유무

비교대상고안 1에는 같은, 비교대상고안 2에는 와 같은 용마루 기와의 형상이 각 도시되어 있는 바, 비교대상고안 1에 ‘ 용마루 기와를 따라 길이 방향으로 일정한 간격의 이음부 모양의 돌조가 아치형으로 배열되고 각 돌조의 좌, 우 양 끝이 좌판의 선단까지 일체로 형성된 구성 ' 이 나타나 있으므로, 이 사건 등록고안의 구성요소 1은 비교대상고안 1에 의하여 그 출원전에 공지되었다 할 수 있다 ( 반면, 비교대상고안 2는 돌조의 연장선과 좌판의 선단이 만나는 부분이 직선으로 도시되어 있음에 비추어 돌조가 좌판의 선단에 이르기까지 돌출형태를 유지하고 있는 것으로 볼 수 없는데다가, 좌판 부분은 용마루 하단에서 수평 수직수평 방향으로 3번 꺾여 있는데 비하여, 좌판에 형성된 돌조에는 2개의 굴곡부만 이 표시되어 있어 비교대상고안 2는 도면이 물품의 구성을 정확히 표현하고 있지도 아니하므로, 이 사건 등록고안의 구성요소 1이 비교대상고안 2에 의하여 공지된 것으로 볼 수 없다 ) .

이어서, 이 사건 등록고안 구성요소 2의 ' 연장홈선으로 인하여 각 연장돌조 선단의 측면 형상이 - 1 과 같이 위로 볼록한 구성 ' 이 비교대상고안 1에 의하여 공지되었는지에 관하여 살피건대, 비교대상고안 1에서 기와 이음부가 좌판의 선단에 이르기까지 바깥쪽에서 볼 때 볼록한 형상을 유지하고 있다는 것만으로, 그 돌조의 안쪽이 오목한 형상의 홈으로 되어 있다거나, 나아가 그와 같은 돌조가 이 사건 등록 고안의 구성요소 2와 같이 좌판의 상, 하에서 가해지는 힘에 따라 신축성을 갖도록 하는 부재로 기능한다고 볼 아무런 근거가 없고, 설사 비교대상고안 1의 재질이 아크릴 강판, 스텐레스, 동판 등이어서 그 재료의 성질상 비교대상고안 1에서 좌판의 선단에까지 이르는 돌조의 바깥쪽이 볼록한 형상이면 당연히 그 안쪽에는 이 사건 등록고안의 연장홈선 ( 30 ) 과 같이 오목한 형상의 홈이 형성된다 하더라도, 비교대상고안 1의 좌판은 이 사건 등록고안의 좌판이 수평인 상태로 마무리되어 있는 것과는 달리 수직으로 꺾인 채 마무리 되어 있어서, 좌판의 선단에서의 돌조의 측면 형상이 - 과 같이 아니하고 홈은 보이지 아니한 채 돌조가 앞으로 볼록 튀어나온 형상일 뿐이어서 용마루기와의 상, 하에서 가해지는 구부리는 힘을 흡수하는 기능을 할 수 없으므로 좌판이 상, 하로 신축할 수 없음이 분명하여, 결국 이 사건 등록고안의 구성요소 2가 비교대상고안 1에 의하여 공지되었다고 할 수 없다 .

따라서, 이 사건 등록고안의 모든 구성요소가 비교대상고안들에 나타나 있다고 볼 수 없으므로 이 사건 등록고안과 비교대상고안 1의 물품의 길이 등에 관한 당사자의 나머지 주장에 관하여 살펴 볼 필요 없이, 이 사건 등록고안은 비교대상고안들에 비하여 신규성이 있다 .

( 2 ) 이 사건 등록고안의 진보성 유무 ( 가 ) 위 가. 에서 본대로, 이 사건 등록고안의 중요한 기술적 특징은 연장돌조 ( 21 )

의 안쪽에 형성된 연장홈선 ( 31 ) 으로 인하여 좌판 ( 11 ) 선단의 측면 형상이 - 과 같이 위로 볼록하고 아래로 오목한 홈이 있어서 ( 구성요소 2 ) 용마루 기와 전체가 상 , 하에서 가해지는 힘에 따라 신축성을 갖는데 있다 .

그러나, 비교대상고안 1이 게재된 카탈로그는 건물의 종류별 기성 ( 光成 ) 건축 부품들의 제원, 재질과 특징 등을 소개하는 것으로서, 비교대상고안 1에 관하여 특허공법으로서 방수성능이 뛰어나다. 재질은 아크릴 강판, 스텐레스, 동판 등 가나메製이다 ' 라는 설명을 하고 있을 뿐이고, 이 사건 등록고안의 구성요소 2에 해당하는 구성이나 기술적 특징 등에 관한 아무런 기재가 없으며, 비교대상고안 2 역시 ‘ 종래에는 금속제 기와의 일부를 직접 굴곡함으로써 돌출된 모양의 장식부를 형성하였다 ' 는 기재와 함께 그로 인하여 가공이 복잡해지는 단점을 극복하기 위해 별도의 돌조 형 장식 부재를 제조하여 용마루 기와에 부착하는 기술구성을 소개하고 있을 뿐이고, 이 사건 등록고안의 구성요소 2에 해당하는 기술구성에 대한 아무런 기재나 암시가 없다. 위와 같이, 비교대상고안들에는 이 사건 등록고안이 해결하려고 하는 기술적 과제에 대한 어떠한 동기의 부여나 암시조차도 포함되어 있지 아니한 반면, 이 사건 등록고안은 위 가. 에서 본 구성상의 특징으로 인하여, 용마루 기와를 이음부가 없이 길게 형성함으로써 시공성을 높이고 누수를 방지하며, 한옥의 곡선에 맞추어 적절하게 굽혀 사용할 수 있도록 하는 고유의 효과를 가지게 되는 바, 이에 비추어 보면 당업자가 비교대상고안들로부터 극히 용이하게 이 사건 등록고안에 이를 수는 없다고 하는 것이 상당하다 . ( 나 ) 피고는, 금속판을 구부려 기와 이음부의 돌기를 만드는 비교대상고안들의 속성상 비교대상고안들 역시 이 사건 등록고안의 연장홈선 ( 30 ) 에 대응하는 구성을 갖추고 있음은 당업자에게 자명하므로, 이 사건 등록고안은 비교대상고안들로부터 극히 용이하게 고안할 수 있다고 주장한다 .

살피건대, 이 사건 등록고안이나 비교대상고안들은 모두 용마루 기와의 몸체와 좌판, 돌조의 구성이 상호 유기적 일체로 이루어져 있는 것들이고, 특히 돌조 ( 연장돌조 포함, 이하 같다 ) 안쪽에 연장홈선 ( 오목한 형상의 홈 ) 이 형성되어 있는지와 그 돌조가 좌판에 어떤 구조와 형태로 결합되어 있는지가 핵심적으로 고려되어야 하는 바, 앞서 본 바와 같이 비교대상고안 1의 돌조의 안쪽에 이 사건 등록 고안의 연장홈선 ( 30 ) 과 같이 오목한 홈이 형성되어 있다 하더라도 비교대상고안 1의 좌판은 수직으로 꺾인 채 마무리 되어 있어서 좌판이 상, 하로 신축할 수 없음이 분명하고, 비교대상고안 2는 돌조의 연장선과 좌판의 선단이 만나는 부분이 직선으로 마무리되어 있어서 돌조가 좌판의 선단까지 이어져 있다고 조차 할 수 없으므로 역시 좌판이 상, 하로 신축할 수 없음이 분명하다 .

비교대상고안들은 위와 같이 좌판 및 그와 결합된 돌조의 구조와 형상이 이 사건 등록고안과 서로 다르고, 그로 인하여 좌판의 상, 하 신축이 불가능한 이상, 단지 비교대상고안들 역시 이 사건 등록고안과 마찬가지로 금속판을 구부려 기와 이음부의 돌기를 만든다는 사정만으로 비교대상고안들로부터 이 사건 등록고안에 이르는 것이 당업 자에게 자명하다고 할 수 없다. 따라서, 피고의 위 주장은 이유 없다 . ( 다 ) 정리

따라서, 이 사건 등록고안은 비교대상고안들에 비하여 진보성이 있다 .

다. 소결론

이 사건 등록고안은 비교대상고안들에 비하여 신규성, 진보성이 있고 달리 이를 부인할만한 아무런 증거가 없음에도, 이 사건 심결은 이와 결론을 달리하여 이 사건 등록고안이 신규성 또는 진보성이 없어 그 등록이 무효로 되어야 한다고 하였으므로 위법하여 취소를 면할 수 없다 .

4. 결론

그렇다면, 이 사건 심결의 취소를 구하는 원고의 청구는 정당하므로 이를 인용하기로 하여 주문과 같이 판결한다 .

판사

재판장 판사 최성준

판사 조영선

판사 한동수

별지

별지 1 이 사건 등록고안의 주요 도면

도 1 도 2

도3도4

Tra -

별지 2 비교대상고안들의 도면

가. 비교대상고안 1

나. 비교대상고안 2

arrow